NORELEM
Roulement à rouleaux croisés en acier
Les roulements à rouleaux croisés en acier sont composés d’une bague intérieure
et d’une bague extérieure en une seule pièce. Cette structure monobloc des bagues
permet d’obtenir une grande rigidité, une grande précision et un fonctionnement
silencieux. Le roulement à rouleaux croisés convient aussi bien pour la rotation de la
bague intérieure que pour la rotation de la bague extérieure.
Pour le jeu radial du palier, vous avez le choix entre deux versions : palier avec
jeu normal C1 (référence : 23831-0XXXXX) ou palier précontraint S1 (référence :
23831-1XXXXX).
Les roulements à rouleaux croisés sont fabriqués dans la classe de tolérance P0.
La classe de tolérance désigne l’écart radial et axial entre la bague intérieure et la
bague extérieure.
Les roulements à rouleaux croisés possèdent un joint d’étanchéité des deux côtés.
D’autres jeux de palier et classes de tolérance sont disponibles sur demande.
Matière :
Bague intérieure, baguée extérieure et éléments roulants en acier à roulement
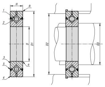
Indication de dessin :
1) Rouleaux
2) Entretoise
3) Bague intérieure
4) Bague extérieure
5) Joint d’étanchéité


English 

















