NORELEM
Levier pivotant en plastique
Notre levier pivotant en plastique constitue une solution innovante et ergonomique,
spécialement conçue pour la manipulation d’armoires électriques et de commandes.
Avec son design robuste et ses matériaux de qualité, ce levier pivotant conjugue
fonctionnalité et longévité.
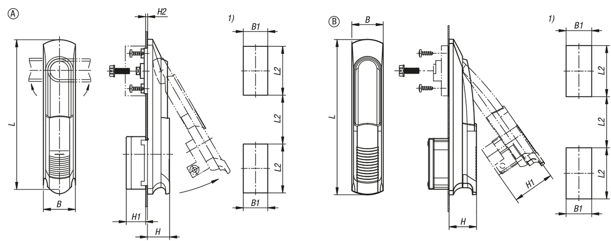
Ses trous de montage présentent les entraxes usuels 50x50x50.
Ce levier pivotant peut être associé à d’autres produits pour la construction
d’armoires électriques afin d’obtenir un système de verrouillage à 1, 2 ou 3 points
(voir informations techniques).
S’agissant de la forme A, les demi-cylindres profilés sont déjà montés dans le levier
pivotant.
S’agissant de la forme B, les demi-cylindres profilés pour levier pivotant (05601)
doivent être commandés séparément
Matière :
Levier pivotant en plastique.
Accessoires :
05601 Demi-cylindre profilé pour levier pivotant.
05569 Came en acier pour verrou quart de tour.
05570 Came en acier pour verrou quart de tour.
05601-05 Adaptateur en acier, en inox ou en zinc pour tiges rondes.
05601-11 Douille pour cames en zinc.
05601-12 Tiges rondes en acier pour levier pivotant.
05601-13 Guides en plastique pour tiges rondes.
05601-20 Embout en zinc pour tiges rondes.
05601-14 Butées en plastique pour tiges rondes.
05601-22 Serrure à tige en plastique ou en zinc pour tiges plates.
05601-21 Tiges plates en acier pour levier pivotant.
05601-10 Adaptateur pour cames en plastique ou en zinc.


English 














